| Шаровые краны |
|
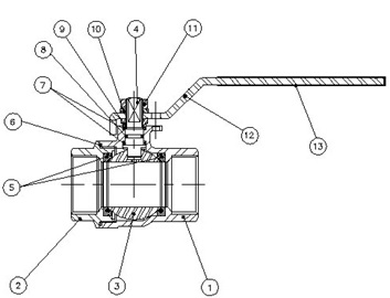
Строение шарового крана
Классификация шаровых крановШаровые краны можно классифицировать по присоединению: - муфтовые (от 1/4” до 3“ дюйма); Варианты материалов корпуса:
- чугун (для фланцевых); По направлению потока рабочей среды: - проходные краны; Варианты конструкции шаровых кранов:
- монокорпусный; Шаровые краны имеют такие достоинства: - простота конструкции; Применение шарового крана
Большинство шаровых кранов фирмы Genebre могут комплектоваться электрическими либо пневматическими приводами (монтаж привода ISO 5211). Шаровые краны получили широкое распространение за счет простоты в эксплуатации и большой надежности. На сегодняшний день используются практически повсеместно в топливной, химической, пищевой промышленности и коммунальном хозяйстве. В домашнем быту рекомендуется использовать шаровый кран совместно с фильтрами сетчатыми, что приводит к более длительной эксплуатации бытовых приборов и смесителей. Малое гидравлическое сопротивление шаровых клапанов, обеспечивается за счет того что диаметр отверстия шара практически равен внутреннему диаметру присоединительного трубопровода, такие краны называются полнопроходными. Более детальные технические характеристики о муфтовых шаровых кранах Вы можете посмотреть в файле - Муфтовые шаровые краны Более детальные технические характеристики о фланцевых шаровых кранах Вы можете посмотреть в файле - Фланцевые шаровые краны |


Шаровый кран – широко используемый повсеместно вид запорной арматуры, затвор которой имеет сферическую форму с пропускным отверстием, для прохода потока рабочей среды. Меняет свое положение с открытого на закрытое (или наоборот) при повороте затвора на 90° вокруг своей оси, что позволяет за достаточно короткое время перекрывать или открывать поток.
Конструкция шарового крана представлена на рисунке ниже, где 1 - корпус; 2 - крышка корпуса; 3 - шар; 4 - шток; 5 - уплотнение седла шарa; 6 - прокладка; 7 - стопорная шайба; 8 - уплотнительное кольцо; 9 - уплотнение штока; 10 - шайба; 11 - гайка; 12 - ручка; 13 - рукав ручки.

Не маловажным достоинством является широкий рабочий диапазон температур от -30° до 200°С и максимального давления до 63 bar (для корпуса из нержавеющей стали и уплотнения из термопластического полимера PTFE).
Вверх